Logo Thing main logo

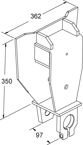
                                SUPORTE MOLA DIANTEIRO P/TRASEIRO VOLVO VM310

ARARANGUÁ

TRÊS CACHOEIRAS

SUPORTE MOLA DIANTEIRO P/TRASEIRO VOLVO VM310


Cód. Somaforce: 19461

Cód. Fab.: 20579939

Marca : LIMERTRUCK

Referências:


13007553 CAVALO MECANICO